珀金斯CH10605連桿、KRP3027連桿瓦配件
項序 零配件號碼 最近的零配件號碼 描述
1 CH10605 6 CH10605 連桿組件
6 KRP3012 1 KRP3027 連桿瓦
(6) KRP3012/025 1 KRP3012/025 大頭 BRG 總成 -U/S
(6) KRP3012/050 1 KRP3012/050 大頭 BRG 總成 -U/S 軸承
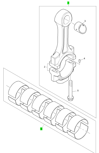
Item Parts No. Qty. Latest Part No. Description Cut Out Cut In Comment
1 CH10605 6 CH10605 CON ROD ASSEMBLY
6 KRP3012 1 KRP3027 BIG END BEARING KIT
(6) KRP3012/025 1 KRP3012/025 BIG END BRG KIT - U/S
(6) KRP3012/050 1 KRP3012/050 BIG END BRG KIT - U/S
Item Parts No. Qty. Latest Part No. Description Cut Out Cut In Comment
2 1 CON ROD
3 CV11007 1 CV11007 SMALL END BUSH
4 CH10203 2 CH11494 PIN
5 CH10607 2 CH10607 CON ROD BOLT

項序 零配件號碼 最近的零配件號碼 描述
1 CH12019 6 CH12019 活塞冷卻噴咀
1 CH10603 6 CH12019 活塞冷卻噴咀
1 CH11318 6 CH12019 活塞冷卻噴咀
2 CH10600 6 CH10600 螺拴
Item Parts No. Qty. Latest Part No. Description Cut Out Cut In Comment
1 CH12019 6 CH12019 PISTON COOLING JET
1 CH10603 6 CH12019 PISTON COOLING JET
1 CH11318 6 CH12019 PISTON COOLING JET
2 CH10600 6 CH10600 BOLT

順義哪里有賣珀金斯配件,懷柔哪里有賣珀金斯配件,哪里有賣珀金斯配件昌平,平谷哪里有賣珀金斯配件,密云哪里有賣珀金斯配件,延慶哪里有賣珀金斯配件,天津哪里有賣珀金斯配件,和平哪里有賣珀金斯配件,河西哪里有賣珀金斯配件,河?xùn)|哪里有賣珀金斯配件,南開哪里有賣珀金斯配件,紅橋哪里有賣珀金斯配件,北辰哪里有賣珀金斯配件,津南哪里有賣珀金斯配件,