挖掘機機械系統的基本構造
1 動力裝置
單斗液壓挖掘機的動力裝置,多采用直立式多缸、水冷、一小時功率標定的柴油機。
以三一SY230C5挖掘機為例,該機采用康明斯6BTA5.9-C柴油機作為動力,其中各數字及字母的含義為:
• 6——6個汽缸
• B——發動機系列
• T——渦輪增壓
• A——后級冷卻(增壓后中冷)
• 5.9——排量(51×51×3.14×120×6=5.9升)
• C——改進次數
液壓挖掘機的動力裝置是由發動機、散熱器、連軸器及輔助元件組成。它主要是發動機和五大系統組成,如下圖所示:

圖3-3 動力系統圖1
1-減震及傳動系統 2-排氣系統 3-冷卻系統

圖3-4 動力系統圖2
4-進氣系統 5-燃油系統 6-發動機
1.1 發動機
將自然界能源轉化為人們所需要的機械運動能的裝置,稱為動力機械,俗稱發動機。其中,柴油機具有熱效率高、結構緊湊、質量輕、使用成本低、維護方便等優點,故目前絕大多數工程建設機械作為動力裝置,為其行走及工作裝置提供動力。
目前三一挖掘機使用的發動機一般是六缸、四沖程、頂置氣門式渦輪增壓柴油機。
1.1.1 柴油機組成及作用
柴油機是一種動力裝置。現代工程建設機械用的往復活塞式柴油機總體機構,由以下的機構和系統組成:
① 曲柄連桿機構。曲柄連桿機構是柴油機完成熱功轉換、產生并輸出動力的主要機構。它的機體組-汽缸體、汽缸體、曲軸箱等;活塞連桿組-活塞、活塞環、活塞銷、連桿及其軸承等;曲軸及其軸承、飛輪等組成。
② 配氣機構。配氣機構的作用是:按照柴油機工作循環與著火順序,定時地使空氣進入氣缸;使燃燒后的廢氣排出汽缸;在壓縮和作功沖程中使汽缸密閉。配氣機構使一種控制機構。
凸輪-氣門式配氣機構廣泛運用在四沖程柴油機上。這種配氣機構不僅工作可靠,而且對氣門的密封性也好。
頂置氣門式配氣機構由氣門、氣門彈簧、凸輪軸及凸輪、挺桿及推桿、搖臂軸等主要零件組成。
③ 供給系。柴油機供給系的作用是,向汽缸提供染油和空氣,并引導廢氣排入大氣的裝置。它由空氣濾清器、,進、排氣管,柴油箱,噴油泵和噴油嘴等主要部件組成。
④ 潤滑系。潤滑系的作用是:連續不斷地想運動零件的摩擦表面提供潤滑油,減少零件間的摩擦和磨損,保證柴油機正常工作,并減少功率消耗;冷卻高溫零件或維持起正常工作溫度;沖洗、帶走摩擦表面的磨屑,避免其加速零件的磨損;粘附在零件表面上,避免與水、空氣及燃氣接觸,減輕零件的氧化和銹蝕;潤滑油填充在零件的配合間隙中,起到提高密封效果的輔助作用。
⑤ 冷卻系。冷卻系的作用是,對柴油機,特別是高溫的零部件進行冷卻,維持正常的工作溫度,避免零件的剛度、強度下降;零件的正常配合間隙被破壞,摩擦和磨損加劇;機油粘度變化,使潤滑性能變差;柴油機的充分效果降低、動力性和經濟性破壞等。柴油機的冷卻方式有水冷和風冷。它主要由水泵、風扇、散熱器、節溫器等零件組成。
⑥ 啟動系。啟動系的功用是,使柴油機由靜止狀態迅速的進入自動運行狀態。除小功率、單缸柴油機外,目前工程建設機械用的柴油機均用電動機啟動,因此柴油機電啟動系主要由蓄電池、發動機、電動機、啟動開關等組成。
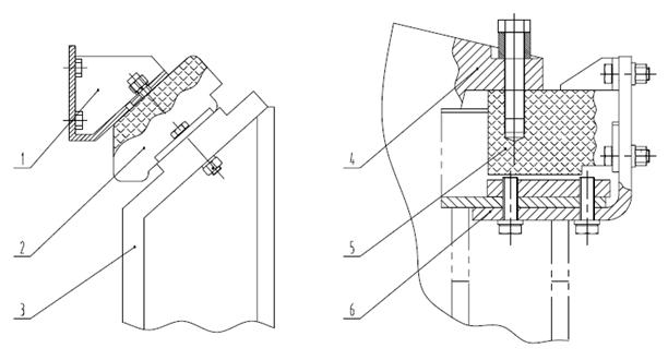
1.2減震系統
減震系統由發動機支腿、減震墊、固定座組成,通過螺栓連接在一起,見圖3—5。

圖3-5 減震系統
1、4-發動機支腿 2、5-減震墊 3、6-固定座
1.3傳動系統
傳動系統由飛輪、端蓋、軸、聯軸器組成,通過螺栓連接在一起,見圖3-6。

圖3-6 傳動系統
1-飛輪 2-端蓋 3-軸 4-聯軸器
1.4油門控制系統
油門控制系統由步進電機、曲柄總成、熄火裝置、連桿、油門擺桿組成,見圖3-7。

圖3-7 油門控制機構
1- 步進電機 2-曲柄總成 3-熄火裝置 4-連桿 5-油門擺桿
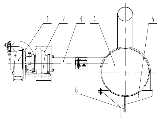
1.5排氣系統
排氣系統由渦輪增壓器、防燙護罩、排氣管、消聲器、消聲器支架、引水膠管組成,見圖3-8。

圖3-8 排氣系統圖
1-渦輪增壓器 2-防燙護罩 3-排氣管 4-消音器 5-支架 6-引水膠管
1.6進氣系統
進氣系統由空濾支架、空氣過濾器(有些機器還包括空氣預濾器)、中冷器、進氣管、渦輪增壓器組成,見圖3-9。

圖3-9 進氣系統圖
1-空濾支架 2-空氣過濾器 3-中冷器 4、5、6-進氣管 7-渦輪增壓器
1.7燃油系統
燃油系統由燃油箱、油水分離器、柴油粗濾器、柴油精濾器、輸油管組成,見圖3-10。

圖3-10 燃油系統圖
1-柴油精濾器 2-燃油箱 3-燃油粗濾器 4-油水分離器
2 傳動系統
單斗液壓挖掘機的傳動系統將柴油機的輸出動力通過液壓系統傳遞給工作裝置、回轉裝置和行走機構等,見圖3-11。

3 回轉機構
回轉機構使工作裝置及上部轉臺向左或向右回轉,以便進行挖掘和卸料。單斗液壓挖掘機的回轉裝置必須能把轉臺支撐在機架上,不能傾斜并使回轉輕便靈活。為此,單斗液壓挖掘機都設有回轉支撐裝置(起支撐作用)和回轉傳動裝置(驅動轉臺回轉),它們被統稱為回轉裝置,見圖3-12。

3.1 回轉支撐
單斗液壓挖掘機用回轉支撐的結構型式,實現上部平臺的回轉,回轉支撐按結構形式分為轉柱式和滾動軸承式等兩種,見圖3-13、圖3-14、圖3-15。

3.2 回轉傳動
全回轉液壓挖掘機回轉裝置的傳動型式有直接傳動和間接傳動兩種。
1)直接傳動。在低速大扭矩液壓馬達的輸出軸上安裝驅動小齒輪,與回轉齒圈嚙合。現在挖掘機一般都不采用這種結構型式。
2)間接傳動。由高速液壓馬達經齒輪減速器帶動回轉齒圈的間接傳動結構型式。這種傳動型式結構緊湊,具有較大的傳動比,且齒輪的受力情況較好。軸向柱塞液壓馬達與同類型液壓油泵的結構基本相同,許多零件可以通用,便于制造及維修,從而降低了成本。
4 行走機構
行走機構支撐挖掘機的整機質量并完成行走任務。

1-履帶;2-行走馬達及驅動輪;3-托鏈輪;4-X型車架;支重輪
單斗液壓挖掘機的履帶式行走機構的基本結構與其他履帶式機構的大致相同,但它多采用兩個液壓馬達各自驅動一條履帶,見圖3-16。與回轉裝置的傳動相似,可用高速小扭矩馬達或低速大扭矩馬達。兩個液壓馬達同方向旋轉時挖掘機將直線行駛;若只向一個液壓馬達供油,并將另一個液壓馬達制動,挖掘機則繞制動一側的履帶轉向;若使左、右兩液壓馬達反向旋轉,挖掘機將進行原地轉向。
行走機構的各零部件都安裝在整體式行走架上。液壓泵輸出的壓力油經多路換向閥和中央回轉接頭進入行走液壓馬達,該馬達將壓力能轉變為輸出扭矩后,通過齒輪減速器傳給驅動輪,最終卷繞履帶以實現挖掘機的行走。
單斗液壓挖掘機大都采用組合式結構履帶和平板型履帶板—沒有明顯履剌,雖附著性能差,但堅固耐用,對路面破壞性小,適用于堅硬巖石地面作業或經常轉場的作業。也有采用三履刺型履帶板,接地面積較大,履刺切入土壤深度較淺,適宜于挖掘機采石作業。實行標準化后規定挖掘機采用質量輕、強度高、結構簡單和價格較低的軋制履帶板。專用于沼澤地的三角形履帶板可降低接地比壓,提高挖掘機在松軟地面上的通過能力。
單斗液壓挖掘機的驅動輪均采用整體鑄件,能與履帶正確嚙合、傳動平衡。挖掘機行走時驅動輪應位于后部,使履帶的張緊段較短,減少履帶的摩擦、磨損和功率消耗。
每條履帶都設有張緊裝置,以調整履帶的張緊度,減少履帶的振動噪聲、摩擦、磨損及功率損失,見圖3-17。目前單斗液壓挖掘機都采用液壓張緊結構。其液壓缸置于緩沖彈簧內部,減小了外形尺寸。

5 工作裝置
液壓挖掘機工作裝置的種類繁多(可達100余種),目前工程建設中應用最多的是反鏟和破碎器。
鉸接式反鏟是單斗液壓挖掘機最常用的結構型式,動臂、斗桿和鏟斗等主要部件彼此鉸接,見圖3-18,在液壓缸的作用下各部件繞鉸點擺動,完成挖掘、提升和卸土等動作。

5.1 動臂
動臂是反鏟的主要部件,其結構有整體式和組合式兩種。
整體式動臂的優點是結構簡單,質量輕而剛度大。其缺點是更換的工作裝置少,通用性較差。多用于長期作業條件相似的挖掘機上。整體式動臂又可分為直動臂和彎動臂兩種。其中的直動臂結構簡單、質量輕、制造方便,主要用于懸掛式液壓挖掘機,但它不能使挖掘機獲得較大的挖掘深度,不適用于通用挖掘機;彎動臂是目前應用最廣泛的結構型式,與同長度的直動臂相比,可以使挖掘機有較大的挖掘深度,但降低了卸土高度,這正符合挖掘機反鏟作業的要求。
5.2 鏟斗
5.2.1 基本要求
1)鏟斗的縱向剖面形狀應適應挖掘過程各種物料在斗中運動規律,有利于物料的流動,使裝土阻力最小,有利于將鏟斗充滿。
2)裝設斗齒,以增大鏟斗對挖掘物料的線比壓,斗齒及斗形參數具有較小的單位切削阻力,便于切入及破碎土壤。斗齒應耐磨、易于更換。
3)為使裝進鏟斗的物料不易掉出,斗寬與物料直徑之比應大于4:1。
4)物料易于卸凈,縮短卸載時間,并提高鏟斗有效容積。
5.2.2 結構
反鏟用的鏟斗形狀、尺寸與其作業對象有很大關系。為了滿足各種挖掘作業的需要,在同一臺挖掘機上可配以多種結構型式的鏟斗,見圖3-19、圖3-20分別為反鏟用鏟斗的基本形式和常用形式。鏟斗的斗齒采用裝配式,其形式有橡膠卡銷式和螺栓連接式,如圖2-5所示。
鏟斗與液壓缸連接的結構型式有四連桿機構和六連桿機構,如圖2-6所示。其中的四連桿機構連孥方式是鏟斗直接鉸接于液壓缸,使鏟斗轉角較小,工作力矩變化較大;六連桿機構連接方式的特點是,在液壓缸活塞桿行程相同條件下,鏟斗可獲得較大轉角,并改善機構的傳動特性。

威爾遜發電機修理手冊,卡特發電機氣缸的管道有漏油?,柴油發動機工作原理圖,三一旋挖啟動電路,帕金斯2206c柴油機電腦板