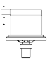
C15和C18發動機水溫調節器-節溫器

248-5513溫度調節器的技術規格項目數量零件技術規格說明A--完全開啟溫度時的最小開啟距離為
10.4mm(0.41in)。---開啟溫度為
81至84°C(178至183°F)。---完全開啟溫度為
92°C(198°F)。---座圈和襯套處的泄漏不應超出最小
10.0cc(0.6cubicin)(
207kPa(30psi)時)。---將閥從座圈上分離需要的力為
165±9N(37±2lb)(溫度為
75°C(167°F)時測量)。
上海發電機組維修保養,溫州哪里有修勞斯萊斯發電機的,哪里有修勞斯萊斯發電機的,上海哪里有修發電機的