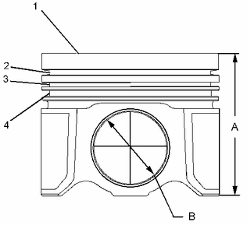
C15和C18發動機活塞和活塞環

|
卡特CAT 窗體底端 C15和C18發動機234-6136活塞和連桿總成和220-1441活塞和連桿總成的技術規格 | |||
|
項目 |
數量 |
零件 |
技術規格說明 |
|
1 |
1 |
卡特CAT 窗體底端 C15和C18發動機223-9159頂部活塞環 |
安裝頂活塞環時使標有"UP-1"的一側朝向活塞頂部。紫色條朝向活塞環末端開口的右側。 |
|
新的頂部活塞環的厚度為 | |||
|
在孔徑為 | |||
|
缸套孔徑每增加 | |||
|
2 |
1 |
卡特CAT 窗體底端 C15和C18發動機238-2707活塞環 |
安裝中間活塞環時使標有"UP-2"的一側朝向活塞頂部。白色條朝向活塞環端隙的右側。 |
|
新的中間活塞環的厚度為 | |||
|
在孔徑為 | |||
|
缸套孔徑每增加 | |||
|
3 |
1 |
卡特CAT 窗體底端 C15和C18發動機246-5659活塞環 |
裝配時,機油控制環的彈簧端應與環兩端縫隙成180度。色條朝向活塞環開口間隙的右側或左側。 |
|
新活塞中用于機油控制活塞環的槽寬為 | |||
|
新的機油控制活塞環的厚度為 | |||
|
槽和機油控制活塞環之間的間隙為 | |||
|
在孔徑為 | |||
|
缸套孔徑每增加 | |||
|
4 |
1 |
卡特CAT 窗體底端 C15和C18發動機卡特CAT 窗體底端 C15和C18發動機180-7350活塞銷 |
將活塞插入活塞體和連桿(6)中之前,先用清潔的發動機機油徹底潤滑活塞銷。 |
|
安裝到活塞裙中的加工后的軸承的孔徑用于活塞銷的長度為 | |||
|
新活塞銷的直徑為 | |||
|
活塞銷的長度為 | |||
|
將擋圈(5)安裝到活塞底部開口處。請參閱插圖1。 | |||
|
7 |
1 |
卡特CAT 窗體底端 C15和C18發動機151-5925螺栓 |
擰緊至扭矩為 |
|
在組裝進缸體前,先用清潔的發動機機油徹底潤滑區域(A)中的整個活塞 | |||
|
活塞環安裝完成之后,旋轉活塞環使各端隙之間成120度。 | |||
卡特CAT 窗體底端
C15和C18發動機活塞和活塞環

|
卡特CAT 窗體底端 C15和C18發動機229-2863活塞和連桿總成和252-0652活塞和連桿總成的技術規格 |
| ||||||||
|
項目 |
數量 |
零件 |
技術規格說明 |
| |||||
|
1 |
1 |
卡特CAT 窗體底端 C15和C18發動機247-6130頂部活塞環 |
安裝頂部活塞環時使標有"UP-1"的一側朝向活塞頂部。使彩條朝向活塞環兩端開口的右側。 |
||||||
|
| |||||||||
|
在孔徑為 |
| ||||||||
|
缸套孔徑每增加 |
| ||||||||
|
新的頂部活塞環的厚度為 |
| ||||||||
|
2 |
1 |
卡特CAT 窗體底端 C15和C18發動機164-4187活塞環 |
安裝中間活塞環時使標有"UP-2"的一側朝向活塞頂部。使彩條朝向活塞環兩端開口的右側。 |
| |||||
|
在孔徑為 |
| ||||||||
|
缸套孔徑每增加 |
| ||||||||
|
新的中間活塞環的厚度為 |
| ||||||||
|
3 |
1 |
卡特CAT 窗體底端 C15和C18發動機306-4014活塞環 |
機油控制環的彈簧端應與環端間隙成180度。從環端間隙中必須能看到彈簧圈的彩色條紋。 |
| |||||
|
在孔徑為 |
| ||||||||
|
缸套孔徑每增加 |
| ||||||||
|
新的機油控制活塞環的厚度為 |
| ||||||||
|
4 |
1 |
卡特CAT 窗體底端 C15和C18發動機180-7350活塞銷 |
將活塞銷插入活塞體組件和連桿(6)中之前,先用清潔的發動機機油潤滑活塞銷。 |
| |||||
|
新活塞銷的直徑為 |
| ||||||||
|
新活塞銷的長度為 |
| ||||||||
|
活塞組件中用于活塞銷的孔徑為 |
| ||||||||
|
將擋圈(5)安裝到活塞底部開口處。參考圖1。 |
| ||||||||
|
7 |
1 |
卡特CAT 窗體底端 C15和C18發動機151-5925螺栓 |
擰緊至扭矩為 |
| |||||
|
在組裝進缸體之前,先使用清潔的發動機機油徹底潤滑區域(A)的整個活塞。 |
| ||||||||
|
活塞環安裝完成之后,旋轉活塞環使各端隙之間成120度。 |
| ||||||||
|
卡特CAT 窗體底端 C15和C18發動機368-7822活塞和連桿總成技術規格 |
| ||||||||
|
項目 |
數量 |
零件 |
技術規格說明 |
| |||||
|
1 |
1 |
卡特CAT 窗體底端 C15和C18發動機223-9159頂部活塞環 |
安裝頂活塞環時使標有"UP-1"的一側朝向活塞頂部。色條朝向活塞環開口間隙的右側。 |
| |||||
|
新頂部活塞環的厚度為 |
| ||||||||
|
|
| ||||||||
|
缸套孔每增加 |
| ||||||||
|
2 |
1 |
卡特CAT 窗體底端 C15和C18發動機238-2707活塞環 |
安裝中間活塞環時使標有"UP-2"的一側朝向活塞頂部。色條朝向活塞環開口間隙的右側。 |
| |||||
|
新中間活塞環的厚度為 |
| ||||||||
|
|
| ||||||||
|
缸套孔每增加 |
| ||||||||
|
3 |
1 |
卡特CAT 窗體底端 C15和C18發動機246-5659活塞環 |
裝配時,機油控制環的彈簧端應與環兩端縫隙成180度。色條朝向活塞環開口間隙的右側或左側。 |
| |||||
|
新活塞中用于活塞控油環的槽寬為 |
| ||||||||
|
新活塞控油環的厚度為 |
| ||||||||
|
|
| ||||||||
|
缸套孔每增加 |
| ||||||||
|
4 |
1 |
卡特CAT 窗體底端 C15和C18發動機180-7350活塞銷 |
將活塞插入活塞體和連桿中之前,應先用清潔的發動機機油潤滑活塞銷。 |
| |||||
|
活塞銷活塞裙內安裝的成品軸承中的孔徑為 |
| ||||||||
|
新活塞銷的直徑為 |
| ||||||||
|
新活塞銷的長度為 |
| ||||||||
|
將擋圈(5)安裝到活塞底部開口處。請參閱插圖1。 |
| ||||||||
|
6 |
1 |
卡特CAT 窗體底端 C15和C18發動機151-5925螺栓 |
擰緊扭矩至 |
| |||||
|
在組裝進缸體之前,先使用清潔的發動機機油徹底潤滑區域(A)中的整個活塞。 |
| ||||||||
|
活塞環安裝完成之后,旋轉活塞環使各端隙之間的距離呈120度。 |
| ||||||||
|
| |||||||||

注:安裝頂部活塞環時使標有"UP-1"的一側朝向活塞頂部。藍色色條朝向環端隙的右側。
新頂活塞環的厚度...3.93mm(0.155in)
130mm(5.1in)的缸套孔中的活塞環的兩端之間的間隙...0.35±0.05mm(0.014±0.002in)
缸套孔每增加0.03mm(0.001in)活塞環兩端之間間隙增加的量...0.09mm(0.004in)
中間活塞環(3)
注:安裝中間活塞環時使標有"UP-2"的一側朝向活塞頂部。色條朝向活塞環開口間隙的右側。
新中間活塞環的厚度...2.980±0.010mm(0.1173±0.0004in)
130mm(5.1in)的缸套孔中的活塞環的兩端之間的間隙...0.7±0.1mm(0.028±0.004in)
缸套孔每增加0.03mm(0.001in)活塞環兩端之間間隙增加的量...0.09mm(0.004in)
活塞控油環(4)
注:安裝控油環后,控油環末端應和環開口間隙相差180度。綠色色條可以朝向環端隙的左側或右側。
新控油活塞環的厚度...3.980±0.010mm(0.1567±0.0004in)
130mm(5.1in)的缸套孔中的活塞環的兩端之間的間隙...0.45±0.15mm(0.018±0.006in)
缸套孔每增加0.03mm(0.001in)活塞環兩端之間間隙增加的量...0.09mm(0.004in)
注:活塞環安裝完成之后,旋轉活塞環,以便使各端隙之間成120度。
活塞銷(5)
注:組裝前,使用清潔的發動機機油徹底潤滑活塞銷。
外徑...53.155±0.005mm(2.0927±0.0002in)
內徑...23.00±0.25mm(0.906±0.010in)
長度...92.00±0.15mm(3.622±0.006in)
活塞銷孔徑...53.250±0.010mm(2.0965±0.0004in)

|
(6)連桿 |
(A)高活塞的高度...105.00±0.10mm(4.134±0.004in)
注:組裝前,使用清潔的發動機機油360度潤滑整個活塞體組件(1)的部位(A)。
卡特CAT 窗體底端
C15和C18發動機頂活塞環(2)
注:安裝頂活塞環時使標有"UP-1"的一側朝向活塞頂部。綠色色條朝向環端隙的右側。
新頂活塞環的厚度...3.95mm(0.156in)
130mm(5.1in)的缸套孔中的活塞環的兩端之間的間隙...0.51±0.05mm(0.020±0.002in)
缸套孔每增加0.03mm(0.001in)活塞環兩端之間間隙增加的量...0.09mm(0.004in)
卡特CAT 窗體底端
C15和C18發動機中間活塞環(3)
注:安裝中間活塞環時使標有"UP-2"的一側朝向活塞頂部。紫色和橙色色條朝向活塞環端隙的右側。
新中間活塞環的厚度...2.98±0.01mm(0.117±0.001in)
130mm(5.1in)的缸套孔中的活塞環的兩端之間的間隙...1.00±0.10mm(0.39±0.004in)
缸套孔每增加0.03mm(0.001in)活塞環兩端之間間隙增加的量...0.09mm(0.004in)
卡特CAT 窗體底端
C15和C18發動機活塞控油環(4)
注:安裝控油環后,控油環末端應和環開口間隙相差180度。綠色色條可以朝向環端隙的左側或右側。
新控油活塞環的厚度...3.98±0.01mm(0.157±0.0004in)
130mm(5.1in)的缸套孔中的活塞環的兩端之間的間隙...0.45±0.15mm(0.018±0.006in)
缸套孔每增加0.03mm(0.001in)活塞環兩端之間間隙增加的量...0.09mm(0.004in)
注:活塞環安裝完成之后,旋轉活塞環使各端隙之間成120度。
卡特CAT 窗體底端
C15和C18發動機活塞銷(5)
注:組裝前,使用清潔的發動機機油徹底潤滑活塞銷。
外徑...53.155±0.005mm(2.0927±0.0002in)
內徑...23.00±0.25mm(0.906±0.010in)
長度...92.00±0.15mm(3.622±0.006in)
活塞銷孔徑...53.250±0.010mm(2.0965±0.0004in)

(1)活塞對稱于中央凹陷。
組裝到缸體之前,360度潤滑整個活塞部位(A)。采用干凈的機油。
卡特CAT 窗體底端
C15和C18發動機頂活塞環(2)
注:安裝頂活塞環時使標有"UP-1"的一側朝向活塞頂部。
新頂活塞環的厚度...4.0mm(0.16in)
130.000mm(5.1181in)的缸套孔中的活塞環兩端之間的間隙...0.40±0.10mm(0.016±0.004in)
缸套孔每增加0.03mm(0.001in)活塞環兩端之間間隙增加的量...0.09mm(0.004in)
卡特CAT 窗體底端
C15和C18發動機中間活塞環(3)
注:安裝中間活塞環時使標有"UP-2"的一側朝向活塞頂部。
新活塞中用于中間活塞環的寬度...3.053±0.013mm(0.1202±0.0005in)
新中間活塞環的厚度...2.980±0.010mm(0.1173±0.0004in)
130.000mm(5.1181in)的缸套孔中的活塞環兩端之間的間隙...1.000±0.125mm(0.0393±0.0049in)
缸套孔每增加0.03mm(0.001in)活塞環兩端之間間隙增加的量...0.09mm(0.004in)
卡特CAT 窗體底端
C15和C18發動機控油環(4)
注:安裝控油環后,控油環末端應和環開口間隙相差180度。從環兩端縫隙中必須能夠看見活塞環的白色部分。
新活塞上的活塞機油控制環槽寬...4.052±0.012mm(0.1595±0.0005in)
新的控油環厚度...3.980±0.010mm(0.1567±0.0004in)
130.000mm(5.1181in)的缸套孔中的活塞環兩端之間的間隙...0.45±0.15mm(0.018±0.006in)
缸套孔每增加0.03mm(0.001in),活塞控油環兩端之間間隙增加的量...0.09mm(0.004in)
注:活塞環安裝完成之后,旋轉活塞環使各端隙之間成120度。
卡特CAT 窗體底端
C15和C18發動機活塞銷(5)
注:組裝前,用干凈的發動機機油徹底潤滑活塞銷。
活塞銷孔直徑...53.220±0.010mm(2.0952±0.0004in)

(1)活塞對稱于中央凹陷。
組裝到缸體之前,360°潤滑整個活塞部位(A)。采用干凈的機油。
注:安裝頂活塞環時使標有"UP-1"的一側朝向活塞頂部。
(2)頂部活塞環槽
活塞環安裝到孔徑為130.000mm(5.1181in)的缸套中后,活塞環兩端間有間隙。間隙...0.40±0.10mm(0.016±0.004in)
缸套孔徑每次增加0.03mm(0.001in),頂部活塞環間隙都有增加。升高...0.09mm(0.004in)
注:安裝中間活塞環時使標有"UP-2"的一側朝向活塞頂部。
(3)中間活塞環槽
新活塞中用于中間活塞環的寬度...3.053±0.013mm(0.1202±0.0005in)
新中間活塞環的厚度...2.980±0.010mm(0.1173±0.0004in)
活塞環安裝到孔徑為130.000mm(5.1181in)的缸套中后,活塞環兩端間有間隙。間隙...1.000±0.125mm(0.0393±0.0049in)
缸套孔徑每次增加0.03mm(0.001in),中間環間隙都有增加。升高...0.09mm(0.004in)
注:安裝控油環后,控油環末端應和環開口間隙相差180度。從環兩端縫隙中必須能夠看見活塞環的白色部分。
(4)機油控制環槽
新活塞上的活塞機油控制環槽寬...4.052±0.012mm(0.1595±0.0005in)
新活塞控油環的厚度...3.980±0.010mm(0.1567±0.0004in)
活塞環安裝到孔徑為130.000mm(5.1181in)的缸套中后,活塞環兩端間有間隙。間隙...0.45±0.15mm(0.018±0.006in)
缸套孔徑每次增加0.03mm(0.001in),機油控制活塞環的間隙都有增加。升高...0.09mm(0.004in)
注:活塞環安裝完成之后,旋轉活塞環使各端隙之間成120度。
(B)活塞銷孔徑...53.250±0.010mm(2.0965±0.0004in)
注:組裝前,用干凈的發動機機油徹底潤滑活塞銷。
哪里有修發電機的電話,發電機維修公司,黃巖哪里有修發電機,康明斯發動機控制模塊維修,臺州康明斯維修電話