Perkins珀金斯柴油發動機空氣壓縮機–拆卸和安裝步驟方法

拆卸步驟

注:可以使用兩個工具(A)中的任意一個。請使用最適用的工具。
注意
在檢驗、保養、測試、調整及維修產品時,務必留心,確保液體盛裝在容器中。在打開任何腔室或拆解任何儲有液體的部件之前,要準備好用合適的容器收集液體。
注:為便于安裝,在所有軟管、所有軟管組件及所有管組件上做出識別標記。塞住所有軟管組件和管組件。塞住軟管組件有助于防止油液流失。塞住軟管組件有助于防止污染物進入系統。
1釋放空氣系統中的壓力。有關正確的步驟,請參閱原始設備制造商(OEM)信息。
2將冷卻液從冷卻系統中排入合適的容器,以便保存或棄置。有關正確的排放步驟,請參閱《Perkins柴油機操作和保養手冊》,“冷卻系統冷卻液-更換”。
3如果發動機在空氣壓縮機后部配備一個液壓泵,卸下該液壓泵。有關正確的步驟,請參閱OEM信息。

4從缸體上拆下螺塞(2)。從螺塞(2)拆下O形密封圈(1)。
5使用工具(A)轉動曲軸,使1號活塞處于其壓縮沖程的上止點位置。有關正確的步驟,請參閱《系統操作、測試和調整》,“查找1號活塞上止點位置”。
注:必須根據發動機調整空氣壓縮機的正時,使發動機振動最小。
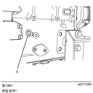
6.將工具(B)安裝到缸體中的孔(X)。使用工具(B),將曲軸鎖定到位。
注:安裝工具(B)時不要使用過大的力量。在修理過程中不要使用工具(B)固定曲軸。



7將冷卻液軟管(3)和軟管(4)從空氣壓縮機(6上斷開。
8從端口(5)和(7)上斷開空氣管路。有關正確的步驟,請參閱OEM信息。
9將管組件(9)從空氣壓縮機(6)及缸體上卸下。
10將螺栓(10)和(12)從支架(11)上拆下,然后卸下支架。
11.支撐空氣壓縮機(6)。拆下螺母(15),然后將空氣壓縮機從前殼體(8)上卸下。
12.將O形密封圈(20)從空氣壓縮機(6)上拆下。
13.如有必要,拆下螺栓(17),然后卸下板(16)。從板(16)上卸下O形密封圈(13)。請參閱插圖285。
14.如有必要,按照步驟14.a至步驟14.b拆卸壓縮機的齒輪。
a.拆下螺母(19),然后拆下彈簧墊圈。
b.使用工具(C)將齒輪(18)從空氣壓縮機(6)的曲軸上卸下。
安裝步驟


1如有必要,按照步驟1.a至1.b,將齒輪安裝到空氣壓縮機上。
a.確保空氣壓縮機(6)的軸清潔干燥。確保齒輪(18)清潔且無損壞。
b.將齒輪(18)和新彈簧墊圈安裝到空氣壓縮機的軸上。
c.將工具(D)涂敷在軸的螺紋上。將螺母(19)安裝到空氣壓縮機(6)的軸上。擰緊螺母至扭矩為120N·m(89lbft)。
2將O形密封圈(20)安裝到空氣壓縮機(6)上。用工具(E)潤滑O形密封圈。

3如有必要,使用工具(A)確保1號活塞處于壓縮行程上止點位置。請參閱《系統操作、測試和調整》,“查找1號活塞上止點位置”。
注:必須根據發動機調整空氣壓縮機的正時,使發動機振動最小。
4.確保已將工具(B)安裝在缸體的孔(X)中。使用工具(B),將曲軸鎖定到位。
注:安裝工具(B)時不要使用過大的力量。在修理過程中不要使用工具(B)固定曲軸。

5轉動空氣壓縮機的曲軸,使正時標記(X)與空氣壓縮機(6)后表面上的正時標記A6對齊。有關帶SAE驅動的空氣壓縮機,請參閱圖289。有關帶DIN驅動的空氣壓縮機,請參閱圖290。

6對齊空氣壓縮機(6)與螺柱(14)。將空氣壓縮機安裝在前殼體上。如有必要,順時針方向轉動空氣壓縮機的曲軸來對齊齒輪。
注:確保正時標記(X)與正時標記A6對齊。有關帶SAE驅動的空氣壓縮機,請參閱圖289。有關帶DIN驅動的空氣壓縮機,請參閱圖290。
7.安裝螺母(15)。擰緊螺母至扭矩為78N·m(58lbft)。
8.如有必要,按照步驟8.a至8.c安裝蓋(15)。
a.將新的O形密封圈(13)安裝到蓋(16)上。使用工具(E)潤滑O形密封圈。
b.將蓋(16)安裝到空氣壓縮機(6)上。
c.安裝螺栓(17)。擰緊螺栓至扭矩為13N·m(115lbin)。

9將支架(11)安置在空氣壓縮機(6)上。安裝螺栓(10)并用手擰緊。
10.安裝螺栓(12)并用手擰緊。
11.擰緊螺栓(10)至扭矩為22N·m(195lbin)。擰緊螺栓(12)至扭矩為44N·m(32lbft)。
注:確保在擰緊螺栓時空氣壓縮機不受應力。
12.將管組件(9)安裝到空氣壓縮機(6)及缸體上。擰緊管組件(9)上的螺母至扭矩為9N·m(80lbin)。

13將工具(B)從缸體中的孔(X)拆下。將新的O形密封圈(1)安裝到螺塞(2)上。將螺塞(2)安裝到缸體上。擰緊螺塞至扭矩為21N·m(186lbin)。
14.如果發動機在空氣壓縮機后部配備一個液壓泵,安裝該液壓泵。有關正確的步驟,請參閱OEM信息。
15.將空氣管路連接到空氣壓縮機中的端口(5)和(7)上。有關正確的步驟,請參閱OEM信息。
16.將冷卻液軟管(2)和(3)連接到空氣壓縮機(5)上。
17.向冷卻系統加注冷卻液到正確的液位。有關正確的加注步驟,請參閱《Perkins柴油機操作和保養手冊》,“冷卻系統冷卻液-更換”。