柴油發動機汽缸套 O 型環和密封圈的安裝技巧
注意: 不同發動機之間的活塞和汽缸套裝置是不同的。禁止混用活塞和汽缸套裝置。請參閱零件目錄,以了解正確的應用。
重要提示: 不得將機油用于汽缸套密封圈或 O 型環。機油會使紅色密封圈膨脹,擠壓汽缸套并可能刮傷活塞。
1. 將 AR45749 肥皂潤滑液倒入一個合適的容器中。
2. 安裝前,將新密封圈和 O 型環浸入肥皂潤滑液。不要將密封圈或 O 型環留在肥皂潤滑液中泡浸。
3. 在汽缸體 (C) 的下部 O 型環槽中安裝黑色 viton O 型環(A)。
4. 在汽缸體的上部 O 型環槽中,安裝紅色硅樹脂 O 型環(B)。

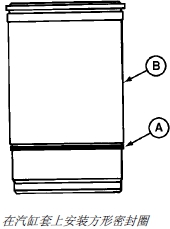
5. 將汽缸套 (B) 上下倒置,并在汽缸套外圈上安裝氯?。ǘ┫鹉z四方形密封圈 (A)。
6. 向下滑動密封圈,使其緊緊地卡在汽缸套的第二肩部。
注意: 確保沒有扭曲密封圈。
7. 將肥皂潤滑液涂在汽缸套密封圈的密封處和汽缸體 O型環上。
A - 氯?。ǘ┫鹉z方形密封圈。
B - 汽缸套

安裝汽缸套
注意: 不同發動機之間的活塞和汽缸套裝置是不同的。禁止混用活塞和汽缸套裝置。請參閱零件目錄,以了解正確的應用。
重要提示: 將汽缸套裝回拆下時同一個汽缸體孔中。通過上部孔時,不要劃傷汽缸套密封圈。
當汽缸套外徑有點蝕或腐蝕,外徑為汽缸套厚度一半以下時,從拆卸的位置上旋轉90⋅。旋轉汽缸套點蝕部分,使其朝向發動機前面或后面。
如果汽缸套沒有點蝕或腐蝕,不必旋轉。安裝汽缸套時標記(銘刻在凸緣上)應朝向發動機前方。
1. 將裝有密封圈的汽缸套小心放入汽缸體孔內。
注意: 在汽缸套對準導向孔時,可以感到阻力。
2. 只使用雙手的壓力,汽缸套應下落到汽缸套和汽缸體上凸輪緣處向下一點的位置。

注意: 由于密封圈和 O 型環無法壓縮,與正常情況相比,汽缸套會突出超過汽缸體頂部。
3. 使用上圖所示的干凈硬木塊和錘子或下圖所示的JDG1145 汽缸套保養套件 (B) 和 2.27 千克(5 磅) 滑錘來完成汽缸套的裝入。
無論使用哪種方法,都需要使用足夠的力量才能裝入汽缸套。
重要提示: 在安裝過程中,如果懷疑墊圈被割破或錯位,應拆下汽缸套和墊圈總成進行檢查。如果未發現有損發,檢查密封圈和 O 型環的位置是否正確。為密封圈重新涂上肥皂液,重新安裝汽缸套總成。
4. 用大平墊圈和帶帽螺釘固定好汽缸套。適當擰緊帶帽螺釘,但不要過緊。
5. 安裝汽缸套后,用無水洗手液清洗汽缸套孔。用干凈的毛巾擦干。
6. 立即將干凈的機油滴入汽缸套孔內,以防止腐蝕。
